三角砖的形状尺寸与定义
三角砖的形状尺寸与定义:有两个砖面为直角三角形的砖。按直角三角形砖面设计在砖的侧面、端面和大面,分为竖厚三角砖、侧厚三角砖和竖宽三角砖。
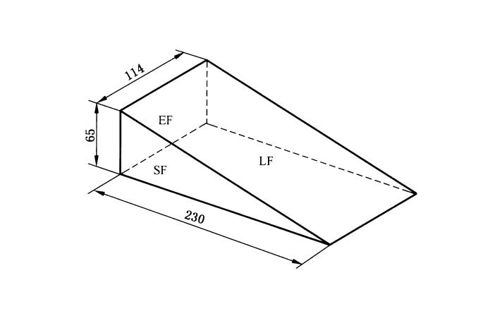
竖厚三角砖:长直角边设计在长度上、短直角边设计在厚度上的三角砖,见图15。

说明:
LF—两面积不等、一个倾斜和另一个水平的矩形大面;
SF—两面积相等、相互平行的直角三角形侧面;
EF—个矩形端面。
图 15竖厚三角砖
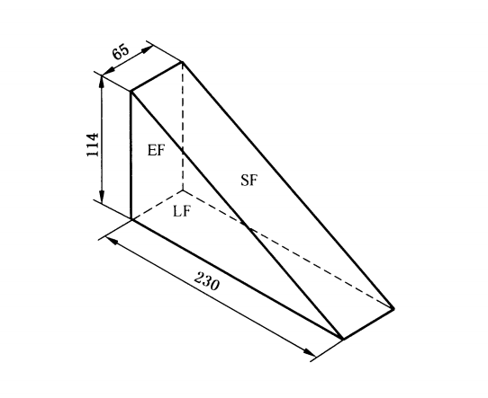
侧厚三角砖:长直角边设计在宽度上、短直角边设计在厚度上的三角砖,见图16。

说明:
LF—两面积不等一个倾斜和另一个水平的矩形大面;
SF—一个矩形侧面;
EF—两面积相等、相互平行的直角三角形端面。
图16侧厚三角砖
竖宽三角砖:长直角边设计在长度上短直角边设计在宽度上的三角砖,见图17。

说明:
LF—两面积相等、相互平行的直角三角形大面;
SF—两面积不等、一个倾斜和另一个水平的矩形侧面;
EF—一个矩形端面。
图17竖宽三角砖
综上所述便是郑州超裕三角砖厂家,为大家讲述的有关于三角砖的形状尺寸与定义。
- 上一篇:通用耐火砖中直形砖的形状尺寸
- 下一篇:球顶砖的形状尺寸





