楔形砖:至少有两个端面、侧面或大面为对称梯形砖面,见图2,即有楔差或大小端尺寸的砖。按楔差或大小端尺寸设计在厚度、宽度和长度上,分为厚楔形砖、宽楔形砖和长楔形砖。

厚楔形砖:两矩形大面互相倾斜、楔差或大小端尺寸设计在厚度上的楔形砖。按大小端距离设计在宽度、长度及同时在长度和宽度上,厚楔形砖又分为侧厚楔形砖、竖厚楔形砖及竖侧厚楔形砖。

侧厚楔形砖:大小端距离A设计在宽度上的厚楔形砖,见图3。

说明:
LF—两面积相等、相互倾斜的矩形大面;
SF—两面积不等,相互平行的矩形侧面;
EF—两面积相等,相互平行的对称梯形端面。
图3侧厚楔形砖
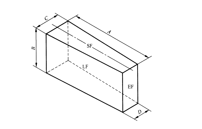
竖厚楔形砖:大小端距离A设计在长度上的厚楔形砖,见图4。

说明:
LF—两面积相等、相互倾斜的矩形大面;
SF—两面积相等、相互平行的对称梯形侧面;
EF—两面积不等、相互平行的矩形端面。
图4竖厚楔形砖
倍半宽竖厚楔形砖:宽度为标准砖或大尺寸标准砖(114mm或150mm)一倍半(172mm或225mm)的竖厚楔形砖。
双倍宽竖厚楔形砖/方板厚楔形砖:宽B和大小端距离A都为230mm的厚楔形砖。
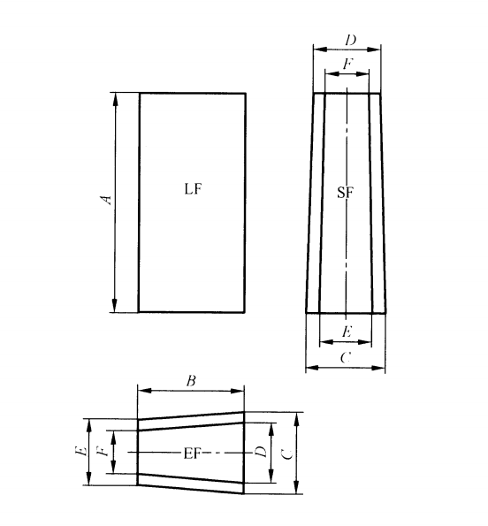
竖侧厚楔形砖:大小端距离A和B分别设计在长度和宽度上的厚楔形砖,见图5。

说明:
LF—两面积相等、沿长向和宽向倾斜的矩形大面;
SF—两面积不等、相互平行的对称梯形侧面;
EF—两面积不等、相互平行的对称梯形端面。
图5竖侧厚楔形砖
宽楔形砖:两侧面相互倾斜、楔差或大小端尺寸设计在宽度上的楔形砖按大小端距离设计在长度和厚度上,分为竖宽楔形砖和薄宽楔形砖。
竖宽楔形砖:大小端距离A设计在长度上的宽楔形砖,见图6。

说明:
LF—两面积相等、相互平行的对称梯形大面;
SF—两面积相等、相互倾斜的矩形侧面;
EF—两面积不等、相互平行的矩形端面。
图6竖宽楔形砖
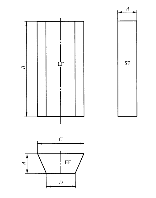
薄宽楔形砖:大小端距离A设计在厚度上的宽楔形砖,见图7。

说明:
LF—两面积不等、相互平行的矩形大面;
SF—两面积相等、相互倾斜的矩形侧面;
EF—两面积相等,相互平行的对称梯形端面。
图7薄宽楔形砖
长楔形砖:两端面相互倾斜、楔差或大小端尺寸设计在长度上的楔形砖,按大小端距离设计在宽度和厚度上,分为侧长楔形砖和薄长楔形砖。
侧长楔形砖:大小端距离A设计在宽度上的长楔形砖,见图8。

说明:
LF—两面积相等、相互平行的对称梯形大面;
SF—两面积不等、相互平行的矩形侧面;
EF—两面积相等、相互倾斜的矩形端面。
图8侧长楔形砖
薄长楔形砖:大小端距离A设计在厚度上的长楔形砖,见图9。

说明:
LF—两面积不等、相互平行的矩形大面;
SF—两面积相等、相互平行的对称梯形侧面;
EF—两面积相等、相互倾斜的矩形端面。
图9薄长楔形砖
综上所述便是郑州超裕耐火砖厂家,为大家介绍的关于楔形砖的形状尺寸及分类标准。
- 上一篇:通用耐火砖的尺寸系列、尺寸砖号及尺寸规格表示法
- 下一篇:拱脚砖的型号规格





