扇形砖的形状与尺寸:有两个大面、侧面或端面为扇形砖面的楔形砖。
注:在国外,将小扇形砖面的竖宽扇形砖竖厚扇形砖和侧厚扇形砖统称为辐射形砖。

扇形砖面:同心圆环砖面分割成若干部分的每个部分。
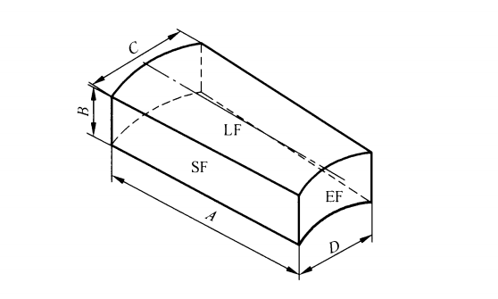
侧长扇形砖:大小端距离A设计在宽度上、大小端尺寸C/D设计在长度上的扇形砖,或大面为扇形砖面的侧长楔形砖,见图1。

说明:
LF—两面积相等、相互平行的扇形大面;
SF—两面积不等的同心弧形侧面;
EF—两面积相等、相互倾斜的矩形端面。
图1侧长扇形砖
薄长扇形砖:大小端距离A设计在厚度上、大小端尺寸C/D设计在长度上的扇形砖或侧面为扇形砖面的薄长楔形砖,见图2。

说明:
LF—两面积不等的同心弧形大面;
SF—两面积相等、相互平行的扇形侧面;
EF—两面积相等、相互倾斜的矩形端面。
图2薄长扇形砖
竖宽扇形砖:大小端距离A设计在长度上、大小端尺寸C/D设计在宽度上的扇形砖,或大面为扇形砖面的竖宽楔形砖,见图3。

说明:
LF—两面积相等、相互平行的扇形大面;
SF—两面积相等、相互倾斜的矩形侧面;
EF—两面积不等的同心弧形端面。
图3竖宽扇形砖
薄宽扇形砖:大小端距离A设计在厚度上、大小端尺寸C/D设计在宽度上的扇形砖或端面为扇形砖面的薄宽楔形砖,见图4。

说明:
LF—两面积不等的同心弧形的大面;
SF—两面积相等、相互倾斜的矩形侧面:
EF—两面积相等、相互平行的扇形端面。
图4薄宽扇形砖
竖厚扇形砖:大小端距离A设计在长度上、大小端尺寸C/D设计在厚度上的扇形砖,或侧面为扇形砖面的竖厚楔形砖,见图5。

说明:
LF—两面积相等、相互倾斜的矩形大面;
SF—两面积相等、相互平行的扇形侧面;
EF—两面积不等的同心弧形端面。
图5竖厚扇形砖
侧厚扇形砖:大小端距离A设计在宽度上、大小端尺寸C/D设计在厚度上的扇形砖或端面为扇形砖面的侧厚楔形砖,见图6。

说明:
LF—两面积相等、相互倾斜的矩形大面:
SF—两面积不等的同心弧形侧面;
EF—两面积相等、相互平行的扇形端面。
图6侧厚扇形砖
综上所述便是郑州超裕扇形砖厂家,为大家讲述的有关于扇形砖的形状与尺寸!
- 上一篇:拱脚砖的型号规格
- 下一篇:耐火砌块的形状与分类





